icon icon icon

Hướng dẫn sử dụng Waterflux 3070: Phần 1

Đăng bởi Hoàng Cường vào lúc 19/10/2023

HƯỚNG DẪN SỬ DỤNG WATERFLUX 3070

HƯỚNG DẪN SỬ DỤNG WATERFLUX 3070

Đồng hồ đo lưu lượng nguyên lý điện từ sử dụng pin với tùy chọn KROHNE FlexPower

Phần 1: Hướng dẫn an toàn, Mô tả và Lắp đặt thiết bị

  • Electronic Revision 5.1.0_(SW.REV.5.1.0_)
  • Phiên bản © KROHNE 03/2022- 4004999703- MA WATERFLUX 3070- R03en

Lưu ý: Bản hướng dẫn này đã được tóm tắt rút gọn, vui lòng tham khảo tài liệu gốc để có thông tin đầy đủ

Đồng hồ đo nước điện từ Krohne Waterflux 3070

Đồng hồ đo lưu lượng điện từ Waterflux 3070

Tham khảo thêm:

  1. Video hướng dẫn cài đặt, vận hành và xác minh Đồng hồ đo nước dạng điện từ WATERFLUX 3070
  2. Video Cài đặt, chạy thử và xác minh (ICV)

1. CÁC HƯỚNG DẪN AN TOÀN

1.1. Mục đich sử dụng

  • Thiết bị phải được sử dụng đúng theo điều kiện vận hành và thông số kỹ thuật (tham khảo tài liệu thông số kỹ thuật).
  • Người vận hành chịu trách nhiệm về tính phù hợp, mục đich sử dụng của thiết bị và khả năng chống ăn mòn của vật liệu đối với môi chất được đo.
  • Nhà sản xuất không chiu trách nhiệm cho bất cứ hư hỏng nào do sử dụng không đúng cách hoặc sử dụng ngoài mục đích đã định.
  • Lưu lượng kế này được thiết kế dành riêng để đo lưu lượng nước uống và nước thô.

1.2. Trách nhiệm và bảo hành sản phẩm

Người vận hành phải chịu trách nhiệm về sự phù hợp của thiết bị cho mục đich sử dụng của mình. Nhà sản xuất không chiu trách nhiệm về hậu quả của việc sử dụng sai bởi người vận hành. Việc lắp đặt hoăc vận hành các thiết bị (hệ thống) không đúng cách sẽ làm mất hiệu lực bảo hành. "Các Điều khoản và Điều kiện Tiêu chuẩn" tương ứng làm cơ sở cho hợp đồng mua bán cũng sẽ được áp dụng.

1.3. Hướng dẫn an toàn cho người vận hành

  • Các thiết bị từ nhà sản xuất chỉ nên được lắp đặt, cài đặt, vận hành và bảo trì bởi những người được ủy quyền và đã được đào tạo.
  • Tài liệu cung cấp thông tin cần thiết để thiết lập các điều kiện vận hành, cho phép sử dụng thiết bị này an toàn và hiệu quả.

1.4. Hướng dẫn an toàn vận chuyển và xử lý pin

Tuân thủ các hướng dẫn bên dưới:

  • Chỉ vận chuyển trong bao bì có nhãn và kèm theo tài vận chuyển hàng đặc biệt.
  • Không được gây đoản mạch, sạc lại, sạc quá mức hoặc kết nối sai cực.
  • Không tiếp xúc với nhiệt độ vượt quá phạm vi nhiệt độ quy định hoặc đốt pin.
  • Không làm bẹp, chọc thủng, mở các cell hoặc tháo rời pin.
  • Không được hàn hay gắn vào thân pin.
  • Không để các thành phần bên trong pin tiếp xúc với nước.
  • Tháo pin ra khỏi thiết bị trước khi trả lại nhà sản xuất vì lý do dịch vụ hoặc bảo hành.
  • Vứt bỏ pin theo quy định của địa phương; nếu có thể, hãy tái chế pin đã sử dụng.

2. MÔ TẢ THIẾT BỊ

2.1 Phạm vi giao hàng

  • Kiểm tra danh sách đóng hàng để đảm bảo đã nhận đủ tất cả các mục theo đơn đặt hàng.
  • Kiểm tra bao bị có bị hư hỏng và báo cáo các thiệt hại cho người vận chuyển hoặc văn phòng tại địa phương của nhà sản suất.
  • Phiên bản gắn rời (remote) sẽ được giao với 2 thùng: 1 chứa bộ chuyển đổi tín hiệu và 1 chứa cảm biến lưu lượng.
  • Vật liệu và công cụ để lắp đặt không nằm trong phạm vi giao hàng. Sử dụng các vật liệu và công cụ lắp đặt cần tuân thủ các chỉ thị về an toàn và sức khỏe nghề nghiệp hiện hành.
  • Cáp và/hoặc cụm cáp đặc biệt được cung cấp theo loại bộ chuyển đổi tín hiệu đã đặt hàng.
  • Vỏ bộ chuyển đổi tín hiệu được cung cấp kèm theo các nắp chống bụi IP67 để bảo vệ các kết nối của bộ chuyển đổi tín hiệu. Sau khi tháo nắp, kết nối cáp tín hiệu và cảm biến, vỏ bộ chuyển đổi tín hiệu và các kết nối sẽ đạt IP68.

Hinh 2-1: Phạm vi giao hàng

Hinh 2-1: Phạm vi giao hàng

  1. Đồng hồ nước được đặt hàng (phiên bản gắn liền (compact) hoặc gắn rời (remote).
  2. Tài liệu sản phẩm.
  3. Giấy hiệu chuẩn từ nhà máy.
  4. Cáp kết hợp tín hiệu/nguồn (được giao theo đặt hàng).
  5. Cáp cảm biến (phiên bản gắn rời).
  6. Giá treo tường (phiên bản gắn rời).
  7. Cờ lê chuyên dụng để mở nắp.

2.2 Mô tả thiết bị

  • Thiết bị được giao sẵn sàng để sử dụng, với cài đặt gốc dữ liệu vận hành được thiết lập theo thông số kỹ thuật đã đặt hàng.
  • Thông tin cụ thể về sản phẩm và thông số kỹ thuật chi tiết của sản phẩm có tra bằng PICK, trên công cụ web Product Information Center của KROHNE
  • PICK có thể tìm thấy tại menu nút dịch vụ (service) tại trang web KROHNE.com. Kiểm tra thông tin trên bảng tên để đảm bảo thiết bị được giao đúng theo đặt hàng.

Co 2 phiên bản:

  • Phiên bản gắn liền - compact (bộ chuyển đổi tín hiệu được gắn trực tiếp trên cảm biến đo) vật liệu vỏ polycarbonate (IP68).
  • Phiên bản gắn rời - remote (cảm biến đo có một hộp kết nối bằng thép không gỉ và một bộ chuyên đổi tín hiệu) tách rời, vật liệu vỏ polycarbonate.

Hình 2-2: Các phiên bản thiết bị

Hình 2-2: Các phiên bản thiết bị

  1. Phiên bản gắn liền (compact).
  2. Phiên bản gắn rời (remote).

3. LẮP ĐẶT

3.1 Lưu ý chung khi lắp đặt

  • Kiểm tra danh sách nhận hàng để đảm bảo nhận đầy đủ tất cả các mục theo đơn đặt hàng.
  • Kiểm tra bảng tên để đảm bảo thiết bị được giao đúng theo đơn đặt hàng.
  • Kiểm tra điện áp sử dụng được in trên bảng tên.

3.2 Lưu trữ

  • Bảo quản thiết bị ở nơi khô ráo, ít bụi bẩn.
  • Tránh ánh nắng trực tiếp liên tục.
  • Bảo quản thiết bị trong bao bì gốc.
  • Nhiệt độ lưu trữ: -30...+70°C

3.3 Vận chuyển

Bộ chuyển đổi tín hiệu: Không có yêu cầu đặc biệt.

Phiên bản gắn liền:

  • Không nâng thiết bị bằng vỏ của bộ chuyển đổi tín hiệu.
  • Không sử dụng xích nâng.
  • Để vận chuyển các thiết bị có mặt bích, hãy sử dụng dây đai nâng. Bọc chúng xung quanh cả hai mặt kết nối.

Hình 3-1: Vận chuyển

Hình 3-1: Vận chuyển

3.4 Các yêu cầu trước khi lắp đặt

Chuẩn bị đầy đủ các dụng cụ cần thiết:

  • Khóa lục giác (4 mm).
  • Tua vít nhỏ.
  • Cờ lê cho cable gland (phiên bản gắn rời).
  • Cờ lê cho giá treo tường (chỉ phiên bảng gắn rời).
  • Cờ lê mô-men xoắn để lắp đặt lưu lượng kế trong đường ống.

3.5 Các yêu cầu chung

Cần đảm bảo các điều kiện sau cho việc lắp đặt:

  • Đảm bảo đủ không gian để lắp đặt mặt bích.
  • Bảo vệ bộ chuyển đổi tín hiệu khỏi ánh sáng mặt trời trực tiếp, lắp đặt một tấm che nắng nếu cần thiết.
  • Bộ chuyển đổi tín hiệu được lắp đặt trong tủ điều khiển cần được làm mát đầy đủ (ví dụ bằng quạt hoặc thiết bị trao đổi nhiệt).
  • Không để bộ chuyển đổi tín hiệu bị rung lắc mạnh và bị va chạm vật lý mạnh.
  • Tránh từ trường! Giữ khoảng cách tối thiểu 5 DN giữa các cảm biến lưu lượng nguyên lý điện từ.

Hình 3-2  Tránh rung lắc và từ trường

Hình 3-2  Tránh rung lắc và từ trường

3.6 Các điều kiện lắp đặt

Để tránh hư hỏng lớp lót Rilsan®, cảm biến lưu lượng WATERFLUX 3000 phải được lắp đặt cẩn thận. Thực hiện các biện pháp phòng ngừa trong quá trình vận chuyển và lắp đặt để bảo vệ 2 mặt của cảm biến.

3.6.1 Đầu vào và đầu ra

Cảm biến lưu lượng WATERFLUX 3000 không yêu cầu đoạn thẳng đầu vào và đầu ra tối thiểu (0DNx 0DN)

Hình 3-3 Đầu vào và đầu ra tối thiểu

  1. Đầu vào: ≥  0 DN
  2. Đầu ra: ≥  0 DN

3.6.2 Các vị trí lắp đặt cần lưu ý

Đoạn ống xả hở:

Lắp đặt trước đoạn ống xả cần lưu ý thiết kế đường ống để đảm bảo nước luôn được điền đầy cảm biến.

Hình 3-4: Lắp đặt trước một đoạn ống xả hở

Hình 3-4: Lắp đặt trước một đoạn ống xả hở

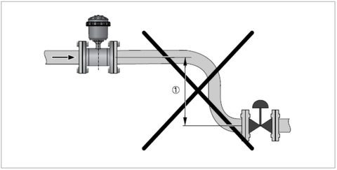
Đoạn ống cong:

  • Khuyến nghị lắp đặt cảm biến tại các vị trí đoạn ống thấp hay đoạn ống có độ dốc hướng lên.
  • Lắp đặt tại các vị trí cao nhất sẽ gây nguy cơ lỗi đồng hồ đo lưu lượng do bọt khí.
  • Cần tránh lắp đặt theo phương đứng kết hợp với một đoạn xả hở hoặc tại các đoạn ống có độ dốc hướng xuống.
  • Chỉ lắp cảm biến phương thẳng đứng hoặc tại các đoạn ống có độ dốc giảm dần khi áp suất ngược (back pressure) được kiểm soát.
  • Tránh xả nước làm rỗng hoặc điền đầy một phần cảm biến lưu lượng.

Hình 3-5: Lăp đăt ơ các đoạn ống cong (90°) va (45°)

Hình 3-5: Lăp đăt ơ các đoạn ống cong (90°) va (45°)

Vị trí bơm, van điều khiển

  • Khuyến nghị lắp đặt đồng hồ lưu lượng sau bơm (tại vị trí không có dòng chảy rối gây bởi bơm) và phía trước van điều khiển.
  • Đồng hồ lưu lượng nguyên lý điện từ có thể lắp đặt tại vị trí đường hút của bơm và phía sau van điều khiển nếu không có sự xâm thực của hệ thống đường ống.

Hình 3-6: Khuyến nghị  lắp đặt ở vị trí sau bơm và trước van điều khiển

Hình 3-6: Khuyến ng hị lắp đặt ở vị trí sau bơm và trước van điều khiển

Vị trí xả khí và áp lực chân không

  • Chú ý cao độ khi lắp đặt tại vị trí xả khí và nguy cơ gây ra áp lực chân không.

Hình 3-7: Xả khí

Hình 3-7: Xả khí

  1.  5m
  2. Điểm xả khí

Hình 3-8: Chân không

Hình 3-8: Chân không

  1.  5m

3.6.3 Độ lệch mặt bích khi lắp

  • Độ lệch tối đa cho phép với mặt của mặt bích đường ống: Lmax - Lmin ≤ 0.5 mm / 0.02".
  • Sử dụng các dụng cụ lắp thích hợp để đảm bảo đồng hồ nguyên vẹn và tránh làm hỏng lớp lót Rilsan®.

Hình 3-9: Độ lệch mặt bích

Hình 3-9: Độ lệch mặt bích

  1. Lmax
  2. Lmin

3.6.4 Vị trí lắp

  • Lắp đặt cảm biến lưu lượng có bộ chuyển đổi tín hiệu phải thẳng hàng, đầu hướng lên hoặc hướng xuống.
  • Lắp đặt cảm biến lưu lượng thẳng hàng với trục của đường ống.
  • Các mặt bích đường ống phải song song với nhau.

Hình 3-10: Vị trí lắp

Hình 3-10: Vị trí lắp

3.6.5 Lắp đặt tại các ứng dụng trong hố đo lường và dưới mặt đất

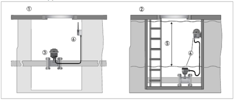
  • Cảm biến lưu lượng WATERFLUX 3000 đạt IP68 / NEMA 4X/6P theo IEC/EN 60529, phù hợp để ngâm liên tục trong các buồng đo ngập nước và có thể chịu được cột nước 10 mét.
  • Các phiên bản gắn liền hoặc gắn rời của the IFC 070 đạt IP68 / NEMA 4/4X/6 và thích hợp cho việc ngâm có chu kì trong các buồng đo ngập nước ở độ sâu 10 mét.
  • Trong các ứng dụng ngập nước kéo dài hoặc liên tục, nên sử dụng Waterflux 3070 phiên bản gắn rời. Bộ chuyển đổi tín hiệu IFC 070 gắn rời và bộ ghi dữ liệu (data logger) GPRS có thể lắp đặt trên tường của các hố đo lường gần nắp để đọc trực tiếp trên màn hình.

Hình 3-11: Minh họa về ứng dụng lắp đặt trong hố đo lường

  1. Ngập theo chu kì
  2. Ngập liên tục
  3. Phiên bản gắn liền
  4. Phiên bản gắn rời
  5. Cột nước tối đa 10 mét.
  6. Thiết bị GPRS / bộ ghi dữ liệu (vị trí)

3.7 Gắn bộ chuyển đổi tín hiệu

  • Đảm bảo rằng tất cả các bề mặt tiếp xúc với vòng đệm (ron) sạch sẽ khi đống nắp.
  • Sử dụng cờ lê chuyên dụng để siết chặt vòng khóa nắp.

Hướng dẫn lắp bộ chuyển đổi tín hiệu gắn rời

Hình 3-12: Gắn giá treo tường bộ chuyển đổi tín hiệu phiên bản gắn rời.

Hình 3-12: Gắn giá treo tường bộ chuyển đổi tín hiệu phiên bản gắn rời.

  1. Đánh dấu các điểm khoan cố định.
  2. Khoan lỗ và gắn giá đỡ bằng đúng loại vít, tắc kê.
  3. Không vượt quá lực 2 Nm / 1.5 lb-ft khi siết vít vì có thể làm hỏng giá treo tường.
  4. Lắp vỏ phiên bản gắn rời IP68 theo rãnh vào giá đỡ như minh họa.
  5. Đảm bảo rằng vị trí định vị cam * được đặt đúng theo hướng dẫn.

3.8 Lắp bộ KROHNE FlexPower

  • Lắp bộ KROHNE FlexPower có thể theo 2 lựa chọn:
    • Gắn bề mặt bằng 2 vít trên tường, bề mặt cứng phù hợp.
    • Gắn trên ống với 2 dây buộc
  • Luôn lắp thiết bị KROHNE FlexPower vào vị trí đã định trước khi kết nối với cảm biến lưu lượng và/hoặc bật nguồn điện chính.
  • Có thể dễ dàng gắn trên ống bằng cách sử dụng 2 dây buộc. Mặt dưới của KROHNE FlexPower được thiết kế để gắn trên đường ống. Chọn kích thước của dây buộc/ rút phù hợp, xem xét các loại có thể tháo rời khi cần di chuyển và/hoặc thay thế giá đỡ.
  • Tránh nước xâm nhập vào cáp điện AC hoặc DC khi không được kết nối.

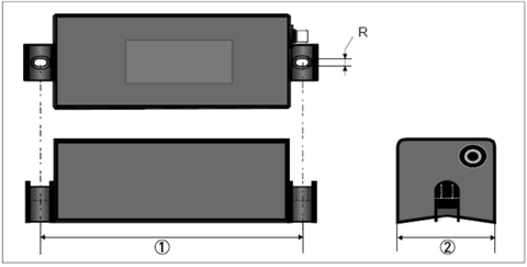
Hình 3-13: Kích thước KROHNE FlexPower

Hình 3-13: Kích thước KROHNE FlexPower
1)    Khoảng cách = 184 mm
2)    Bề rộng = 74 mm
R = kích thước lỗ gắn; 6 mm / ¼"

Còn tiếp...

-----------------------------------------

-----------------------------------------

Tags : Các vị trí lắp đặt cần lưu ý của đồng hồ đo nước điện từ Các điều kiện lắp đặt đồng hồ đo nước điện từ Hướng dẫn an toàn vận chuyển và xử lý pin Hướng dẫn Lắp đặt đồng hồ đo nước điện từ Hướng dẫn sử dụng Waterflux 3070 Hướng dẫn vận chuyển đồng hồ đo nước điện từ Lắp bộ Pin ngoài FlexPower Vị trí lắp đồng hồ đo nước điện từ
VIẾT BÌNH LUẬN CỦA BẠN:

DỰ ÁN